InventionHome® Inventor Creates Magnetically Actuated Blood Glucose Testing Device to Improve Hygiene and Usability
PITTSBURGH, PA, UNITED STATES, January 5, 2026 /EINPresswire.com/ -- Barbara F. of Aurora, CO is the creator of Magnifier Plus, a blood glucose testing device developed to address hygiene, usability, and handling challenges associated with conventional glucose test strips. The system is designed for individuals who perform regular blood glucose monitoring, including those with type 2 diabetes, and is particularly suited for users who experience difficulty manipulating small components due to limited dexterity or visual impairment.
Traditional blood glucose testing requires users to manually handle test strips during loading and disposal. This process introduces several risks including contamination of strips by skin oils, dirt, or microbes, which can compromise test accuracy or increase infection risk. Improper strip insertion or physical damage during handling may also lead to erroneous readings. Additionally, the disposal of used strips can present hygiene and biohazard concerns, especially in shared or clinical environments.
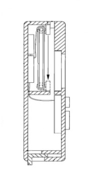
Magnifier Plus addresses these issues through a magnetically assisted strip handling system that eliminates direct user contact with test strips. Each test strip incorporates a magnetically active tip fabricated from a specialized magnetic material. This tip interacts with an internal electromagnet housed within the testing device. When activated, the electromagnet draws the strip into a guiding chamber and positions it correctly for glucose analysis without requiring manual placement.
The device contains an integrated power source, central processing unit (CPU), and electromagnetic control system that controls strip loading, positioning, and ejection. After a glucose measurement is completed, the electromagnet releases the used strip into a sealed internal disposal chamber. This automated handling and containment process reduces the risk of contamination, minimizes exposure to biological waste, and simplifies disposal.
Key features and benefits include:
• Magnetic Strip Handling System: Utilizes magnetically active test strip tips and an internal electromagnet to load and eject strips without manual contact.
• Improved Hygiene and Contamination Control: Reduces exposure to skin oils, dirt, and microbes by eliminating direct handling of unused and used test strips.
• Enhanced Accessibility: Designed to assist users with limited dexterity, arthritis, tremors, or visual impairments who may struggle with small components.
• Integrated Control Architecture: Incorporates a power source, CPU, and guided channel system to manage strip movement and testing workflow.
Magnifier Plus represents a simple and convenient approach to improving blood glucose testing by combining electromagnetic actuation, automated handling, and internal disposal. The design prioritizes hygiene, usability, and reliability, addressing common limitations of manual test strip management in both personal and clinical monitoring environments.
Barbara filed her Utility Patent with the United States Patent and Trademark Office (USPTO) and is working closely with InventionHome, a leading invention licensing firm, to sell or license the patent rights to her Magnifier Plus product. Ideal licensing candidates would be U.S. based product manufacturers or distributors looking to further develop and distribute this product innovation.
Companies interested in the Magnifier Plus can contact InventionHome at member@inventionhome.com. Inventors currently looking for assistance in patenting, marketing, or licensing their invention can request information from InventionHome at info@inventionhome.com or by calling 1-866-844-6512.
About InventionHome®
InventionHome® is a top-rated invention marketing and product licensing company dedicated to helping inventors successfully patent, prototype, and promote their new product ideas. From securing intellectual property to connecting with potential licensees, InventionHome® offers a streamlined path to commercialization. Learn more at https://www.inventionhome.com or email info@inventionhome.com.
For expert guidance on every step of the invention process, visit our growing library of inventor resources and articles at https://inventionhome.com/articles.
Traditional blood glucose testing requires users to manually handle test strips during loading and disposal. This process introduces several risks including contamination of strips by skin oils, dirt, or microbes, which can compromise test accuracy or increase infection risk. Improper strip insertion or physical damage during handling may also lead to erroneous readings. Additionally, the disposal of used strips can present hygiene and biohazard concerns, especially in shared or clinical environments.
Magnifier Plus addresses these issues through a magnetically assisted strip handling system that eliminates direct user contact with test strips. Each test strip incorporates a magnetically active tip fabricated from a specialized magnetic material. This tip interacts with an internal electromagnet housed within the testing device. When activated, the electromagnet draws the strip into a guiding chamber and positions it correctly for glucose analysis without requiring manual placement.
The device contains an integrated power source, central processing unit (CPU), and electromagnetic control system that controls strip loading, positioning, and ejection. After a glucose measurement is completed, the electromagnet releases the used strip into a sealed internal disposal chamber. This automated handling and containment process reduces the risk of contamination, minimizes exposure to biological waste, and simplifies disposal.
Key features and benefits include:
• Magnetic Strip Handling System: Utilizes magnetically active test strip tips and an internal electromagnet to load and eject strips without manual contact.
• Improved Hygiene and Contamination Control: Reduces exposure to skin oils, dirt, and microbes by eliminating direct handling of unused and used test strips.
• Enhanced Accessibility: Designed to assist users with limited dexterity, arthritis, tremors, or visual impairments who may struggle with small components.
• Integrated Control Architecture: Incorporates a power source, CPU, and guided channel system to manage strip movement and testing workflow.
Magnifier Plus represents a simple and convenient approach to improving blood glucose testing by combining electromagnetic actuation, automated handling, and internal disposal. The design prioritizes hygiene, usability, and reliability, addressing common limitations of manual test strip management in both personal and clinical monitoring environments.
Barbara filed her Utility Patent with the United States Patent and Trademark Office (USPTO) and is working closely with InventionHome, a leading invention licensing firm, to sell or license the patent rights to her Magnifier Plus product. Ideal licensing candidates would be U.S. based product manufacturers or distributors looking to further develop and distribute this product innovation.
Companies interested in the Magnifier Plus can contact InventionHome at member@inventionhome.com. Inventors currently looking for assistance in patenting, marketing, or licensing their invention can request information from InventionHome at info@inventionhome.com or by calling 1-866-844-6512.
About InventionHome®
InventionHome® is a top-rated invention marketing and product licensing company dedicated to helping inventors successfully patent, prototype, and promote their new product ideas. From securing intellectual property to connecting with potential licensees, InventionHome® offers a streamlined path to commercialization. Learn more at https://www.inventionhome.com or email info@inventionhome.com.
For expert guidance on every step of the invention process, visit our growing library of inventor resources and articles at https://inventionhome.com/articles.
InventionHome
InventionHome
+ +1 866-844-6512
info@inventionhome.com
Legal Disclaimer:
EIN Presswire provides this news content "as is" without warranty of any kind. We do not accept any responsibility or liability for the accuracy, content, images, videos, licenses, completeness, legality, or reliability of the information contained in this article. If you have any complaints or copyright issues related to this article, kindly contact the author above.

